アイコン はり/柱/トラスのグリッドシート入力
[架構配置入力]▶〔節点・部材〕▶[はり/柱/トラス]▶[はり/柱/トラスのグリッドシート入力]
はり、柱、トラス部材を配置します。
アイコン  グリッドシート
アイコン  テキスト形式
アイコン  説明

アイコン グリッドシート

グリッドシート
①節点
【節点】で定義した節点名称を入力します。
部材の材軸方向は、I端からJ端を向きます。
基準座標軸と平行する部材は、材軸の方向と基準座標軸の方向が一致するように配置します。
逆方向に配置された場合、【応力準備計算】で自動的にI端、J端を入れ替えます。
図
部材の配置
②長さ
部材長さ(節点間距離)が自動的に入力されます。
③種別
「0:はり」、「1:柱」、「2:トラス」、「3:引張型トラス」、「4:圧縮型トラス」、「5:その他」から選択します。
④断面
【断面】で定義した断面名称を入力します。
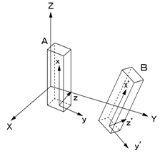
⑤部材軸
自動的に設定される部材座標系(『基準座標系・局部座標系・部材座標系』を参照)を変更する場合、【部材軸】で定義した部材軸名称を入力します。
図
プログラムで自動的に設定される部材座標系(x-y-z)
Aと異なる向きに部材の主軸を配置する場合は部材軸(y’-z’)を指定
部材軸の設定
⑥接合
節点との接合を剛接合にしない場合、【接合】で定義した接合名称を入力します。
接合は2種類を定義でき、【固有値計算条件】または【荷重ケース】の「部材接合」で、考慮する接合を選択します。
接合条件が次の場合、不安定となるため、接合条件を自動的に変更します。
1 図 4 図
I端を剛接合に変更 y方向を剛接合に変更
2 図 5 図
I端を剛接合に変更 z方向を剛接合に変更
3 図 6 図
I端を剛接合に変更 I端を剛接合に変更
⑦捻り剛性
捻り剛性を考慮するかを指定します。
⑧剛域
材軸上の剛域長さを入力します。
剛域は下図(剛域)のように設定されます。
剛域とオフセットが入力されている場合は、下図(オフセットと剛域)のように設定されます。
図 図
剛域 オフセットと剛域
⑨剛性増大率
剛性を低減または増大する場合、剛性増大率(>0.0)を入力します。
⑩オフセット
軸上にない剛域を設定する場合、【オフセット】で定義したオフセット名称を入力します。
⑪出力名称
15文字以内で入力します。
【応力計算結果の出力】の「出力形式」で「名称優先」を選択した場合、ここで入力した名称別に出力・集計されます。

アイコン テキスト形式

項 目 省略値
節点-I端
節点-J端
長さ
種別 0
断面
部材軸
接合-1-I端
接合-1-J端
接合-2-I端
接合-2-J端
捻り剛性 0
剛域-z軸-I端 0.0
剛域-z軸-J端 0.0
剛域-y軸-I端 0.0
剛域-y軸-J端 0.0
剛性増大率-φx 1.0
剛性増大率-φy 1.0
剛性増大率-φz 1.0
剛性増大率-φmx 1.0
剛性増大率-φmy 1.0
剛性増大率-φmz 1.0
オフセット
出力名称

アイコン 説明

  1. 構造形式により、次の項目が入力可能です。
    項 目 平面フレーム 平面トラス 平面格子ばり 立体トラス 立体フレーム
    部材軸



    接合

    捻り剛性


    剛域-z軸

    剛域-y軸



    剛性増大率-φx
    剛性増大率-φy



    剛性増大率-φz

    剛性増大率-φmx


    剛性増大率-φmy

    剛性増大率-φmz



    オフセット


▲PAGETOP